Μετάβαση στο περιεχόμενο
Newsletter: Εγγραφείτε στην ημερήσια τεχνική ενημέρωση από το Michanikos.gr ×

paris_m3

Members
  • Περιεχόμενα

    18
  • Εντάχθηκε

  • Τελευταία επίσκεψη

Profile Information

  • Τοποθεσία
    Τρίπολη

Τελευταίοι επισκέπτες προφίλ

The recent visitors block is disabled and is not being shown to other users.

paris_m3's Achievements

Newbie

Newbie (1/15)

0

Φήμη στην κοινότητα

  1. Καλησπέρα, κατ΄αρχην θελεις μελετη φορτισης αξόνων και φορτίου πείρου + Υ.Δ. , όμως τα 95 κ.μ. που αναφέρεις θα είναι εκτος των μέγιστων διαστάσεων για κυκλοφορούντα οχήματα.
  2. Παιδιά, την συγκεκριμένη φράση τουλάχιστον στις υπηρεσίες του Υ.ΠΟ.ΜΕ.ΔΙ που ασχολούμαι εγώ είναι υποχρεωτικό να την αναγράψεις σε συγκεκριμένες περιπτωσεις. π.χ. Αντικατάσταση αμαξώματος - υπερκατασκευής φορτηγού, χρειάζεται μελέτη κλπ αλλά και Υ.Δ. του επιβλεψαντος μηχανικού ότι όλες οι εργασίες έγιναν σύμφωνα με τους κανόνες της τέχνης και της επιστήμης. Βλέπε Υ.Α. ΣΤ/20270 / 1973 {2 , 2α
  3. Καλησπέρα Δημήτρη, πας στην Δ/νση Ανάπτυξης της οικείας Περιφερειακής ενότητας πλέον, καταθέτεις πτυχίο, φωτογραφίες και ένα παράβολο και γράφεσαι στο " Βιβλιο πτυχιούχων Ανωτέρων σχολών........." μετά απο αυτό ασκείς κανονικά το επάγγελμα με τα δικαιώματα που αναφέρονται στο ΒΔ 657/70.
  4. Συνάδελφοι καλησπερα, μπορεί κάποιος να μου απαντήσει ποιές είναι οι προδιαγραφές για ηλεκτρολογική εγκατάσταση κυκλοφοριακής σύνδεσης. Ευχαριστώ εκ των προτέρων.
  5. Συνάδελφοι, καλησπέρα μου έφεραν μια οικοδομική άδεια έτους 1974 και αντίστοιχη κάτοψη ισόγειου χώρου εμβαδού 98,50 τ.μ. με περιγραφή ως βοηθητικό παράρτημα ήδη υπάρχουσας ισόγειας οικοδομής εμβαδού 250 τ.μ. έτους 1970. Μπορεί σε αυτό τον χώρο των 98,50 τ.μ. να δημιουργηθεί συνεργείο αυτοκινήτων?
  6. Εκτος των αναφερομένων απο τους συναδέλφους υπάρχει άλλο ένα θέμα, πόσες θερμίδες είναι η συγκεκριμένη μονάδα ? γιατι οπως γραφει ο djzap, τον χρησιμοποιεί για δύο σπίτια. Και εγώ απο την πλευρά μου θα προτείνω να συνατντηθείς με κάποιο μηχανολόγο - μηχανικό να κάνει την απαιτούμενη μελέτη και να σου προτείνει τον σωστό εξοπλισμό.
  7. Α.Τ.Ε.Ι. ΠΑΤΡΑΣ ΤΜΗΜΑ ΜΗΧΑΝΟΛΟΓΙΑΣ 2005
  8. Στο τέλος του βιβλίου πρακτικής γράφεις μια συγκεντρωτική έκθεση " πεπραγμένων" δηλαδή όλα όσα έκανες κατα την διάρκεια της πρακτικής, απλά αντιγράφεις περιλιπτικά όλα όσα έχεις γράψει στις προηγούμενες σελίδες / εβδομάδα. Εγώ τουλάχιστον αυτό έκανα πριν από 5 χρόνια όταν έδωσα το βιβλίο πρακτικής, στο ίδιο τμήμα με εσένα
  9. Συνάδελφοι, καλησπέρα, θα ήθελα να ρωτήσω αν γνωρίζει κάποιος απο εσάς πως μπορώ να βρώ τεχνικά στοιχεία (προσπέκτους) για φορτηγά αυτοκίνητα εργ. κατασκευής : MERCEDES BENZ, MAN, VOLVO κλπ. Όσο και αν έψαξα στο διαδύκτιο βρήκα μόνο για επιβατικά οχήματα.
  10. Αγαπητή emma είμαι και εγώ συνάδελφος Μηχ. Μηχανικος απο το ΤΕΙ Πάτρας, όταν τελέιωσα την σχολή ήμουν σαν και εσένα δεν ήξερα τι να κάνω ο καθένας είχε την δική του γνώμη. Τελικά αποφάσισα οτι έπρεπε να μάθιω κάτι πριν ανοίξω το δικό μου γραφείο, βρήκα μια τεχνική εταιρεία και δούλεψα έξι μήνες πάνω σε μελέτες, με βοήθησε παρα πολύ αυτό έκα να και τις γνωριμίες μου και μετά άνοιξα το δικό μου γραφείο όπου μέχρι σήμερα πάω παρα πολύ καλά. Ελπίζω να σε βοήθησα, και καλή συνέχεια.
  11. Καλησπέρα, μήπως γνωρίζει κάποιος συνάδελφος αν υπάρχει πρόγραμμα Η/Υ για υπολογισμό και απεικόνιση κύκλου στροφής και τροχιάς οχημάτων και ειδικότερα φορτηγών.
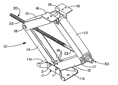
  12. Φίλε μου κοιταξε την ποαρακάτω εικόνα είμαι σίγουρος πως θα σε βοηθήσει
  13. Αγαπητέ Takis_3d το προηγούμενο μήνυμα το έστειλα για ενημέρωση όλων των συναδέλφων, τώρα για την ικανότητα έλξης του οχήματοις μπορείς να χρησιμοποιήσεις: 1.το manual του αυτοκινήτου αν υπάρχει 2. το εργοστασιακό προσπέκτους 3. την έγκριση τύπου του αυτοκινήτου ή 4. βεβαίωση απο την αντιπροσωπεία.
  14. Για τα αγροτικά αυτοκίνητα επιτρέπεται η ρυμούλκυση τρέιλερ σύμφωνα με το κάτωθι δελτίου τύπου του ΥΜΕ: 17/03/2009 Ρυμούλκηση μπαγαζιέρας από αγροτικά Με απόφαση που υπέγραψε ο Υπουργός Μεταφορών και Επικοινωνιών κ. Ευριπίδης Στυλιανίδης, δίνεται η δυνατότητα στους αγρότες που έχουν στην κυριότητά τους Φορτηγό ΙΧ αγροτικό αυτοκίνητο, να ρυμουλκούν τις «μπαγκαζιέρες» καθώς επίσης και τις βάρκες ιδιοκτησίας τους. Με την εφαρμογή της απόφασης, διευκολύνεται σημαντικά μια μεγάλη κατηγορία αγροτών σε όλη τη χώρα στους οποίους μέχρι τώρα δεν επιτρεπόταν αυτή η δυνατότητα, καθώς για ρυμούλκηση «μπαγκαζιέρας» ή βάρκας έπρεπε να διαθέτουν και επιβατικό αυτοκίνητο. Από το Γραφείο Τύπου
  15. Καλησπερα, με δεδομένο οτι το μανόμετρο είναι στο πιεστικό, θα βάλεις τα φίλτρα στην σωλήνα αμέσως μετα την έξοδο απο το πηγάδι γιατι θέλουμε να κρατήσουμε τα σωματίδια και την λάσπη πριν φτάσουν στο πιεστικό. Υπάρχουν στο εμπόριο και οι δύο τύποι φίλτρων πλαστικά και μεταλλικά, η διαφορά τους είναι στην ποιότητα κατασκευής και στο κόστος. Η προσωπική μου άποψη είναι εφόσον πρόκειται για ερασιτεχνική χρήση να βάλεις πλαστικά αλλά να μην αμελείς τον καθαρισμό τους. Πιστέυω να σε κάλυψα.
×
×
  • Create New...

Σημαντικό

Χρησιμοποιούμε cookies για να βελτιώνουμε το περιεχόμενο του website μας. Μπορείτε να τροποποιήσετε τις ρυθμίσεις των cookie, ή να δώσετε τη συγκατάθεσή σας για την χρήση τους.