akaliak Δημοσιεύτηκε July 28, 2016 at 02:05 μμ Δημοσιεύτηκε July 28, 2016 at 02:05 μμ Το χειμώνα θεωρείς μόνο την σκίαση από τον πρόβολο. Το καλοκαίρι την σκίαση από πορόβολο + τέντα, δηλαδή 0.24 αφού γωνία > 90ο 1
dib Δημοσιεύτηκε July 28, 2016 at 02:13 μμ Δημοσιεύτηκε July 28, 2016 at 02:13 μμ Ευχαριστώ για την απάντηση #akaliak +1 Ναι εννοείται το χειμώνα μόνο απο πρόβολο !
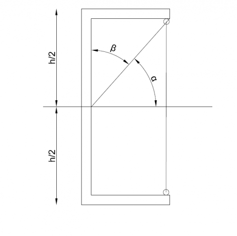
thanasis3 Δημοσιεύτηκε July 28, 2016 at 02:31 μμ Δημοσιεύτηκε July 28, 2016 at 02:31 μμ (edited) Με ποια λογική όμως είναι αυτή η γωνία β; Εγώ πιστεύω ότι αν θεωρήσεις την τέντα όπως την έχεις στο σχήμα έχεις πλήρη σκίαση, καθώς μετά την τέντα ακολουθεί το μπαλκόνι, δλδ έχεις συντελεστή 0. Επίσης έχω την εντύπωση ότι αν δεν υπάρχει αυτοματισμός στην τέντα, αυτή δε λαμβάνεται υπόψιν καθόλου. Edited July 28, 2016 at 02:36 μμ by thanasis3
dib Δημοσιεύτηκε July 28, 2016 at 02:45 μμ Δημοσιεύτηκε July 28, 2016 at 02:45 μμ Συνάδελφε σωστή η παρατήρηση σου για συντελεστή σκίασης 0, αλλά μην ξεχνάς την διάχυτη ακτινοβολία που προσπίπτει απο τα πλαϊνά. Συντελεστή 0 θα είχαμε αν (εν προκειμένω) ο τοίχος ήταν πλήρως κλειστός περιμετρικά, όπως στις τοιχοποιίες της θ.ζ. που βλέπουν σε κλιμακοστάσιο.
thanasis3 Δημοσιεύτηκε July 28, 2016 at 03:57 μμ Δημοσιεύτηκε July 28, 2016 at 03:57 μμ (edited) Συνάδελφε σωστή η παρατήρηση σου για συντελεστή σκίασης 0, αλλά μην ξεχνάς την διάχυτη ακτινοβολία που προσπίπτει απο τα πλαϊνά. Συντελεστή 0 θα είχαμε αν (εν προκειμένω) ο τοίχος ήταν πλήρως κλειστός περιμετρικά, όπως στις τοιχοποιίες της θ.ζ. που βλέπουν σε κλιμακοστάσιο. Έχεις δίκιο για τον ηλιασμό από τα πλαϊνά, ίσως η καλύτερη προσέγγιση είναι με τη γωνία που είπες. Ο ΚΕΝΑΚ έχει ένα πρόβλημα σε αυτόν τον τομέα καθώς θεωρεί τα εμπόδια να είναι απείρου πλάτους (και τα μακρινά και οι πρόβολοι). Αν η τέντα είναι τελείως κατεβασμένη ίσως μπορείς να το υπολογίσεις και με άλλο τρόπο: Να υπολογίσεις την Fov από τη γωνία β και την Fhor από τη γωνία α, σαν εμπόδιο στο οριζόντιο επίπεδο. (θεωρητικά μιλώντας, αφού νομίζω ότι η λύση που πρότεινες είναι καλύτερη...) Edited July 28, 2016 at 04:01 μμ by thanasis3
anpap Δημοσιεύτηκε November 1, 2016 at 11:05 πμ Δημοσιεύτηκε November 1, 2016 at 11:05 πμ θελω να υπολογισω τις πλευρικες σκιασεις μιας αδιαφανους επιφάνειας. απο δεξια εχω πληρη σκιαση (συντ/στες 0) και απο αριστερά είναι ασκιαστο (συντ/στες 1). Ποια τελική τιμή επιλέγω? Σύμφωνα με τη τοτεε καταλαβαινω οτι το γινόμενο το παίρνω μόνο όταν έχω σκιάσεις και απο τις δυο μεριές
panos-vicious Δημοσιεύτηκε November 1, 2016 at 04:01 μμ Δημοσιεύτηκε November 1, 2016 at 04:01 μμ Το γινόμενο τους (τόσο για τον χειμώνα όσο και για το καλοκαίρι) υπολογίζεις σε κάθε περίπτωση. Απλώς: - όταν έχεις πλήρη σκίαση από τη μια πλευρά (0) και δεν υπάρχει πλευρική προεξοχή από την άλλη (1), τότε ο συνολικός συντελεστής θα είναι: F_fin_h ή c = 0 * 1 = 0 - όταν έχεις πλήρη σκίαση και από τις δύο πλευρές, τότε και πάλι θα είναι μηδέν (0*0), και - όταν δεν υπάρχει πλευρική προεξοχή σε καμιά από τις δύο πλευρές, τότε θα είναι μονάδα (1*1). Για να θεωρείς πλήρη πλευρική σκίαση από τα δεξιά, υποθέτω πως από εκείνη την πλευρά θα έχεις ένα εμπόδιο σε σχήμα Γ, δηλαδή τοίχο και δεξιά και απέναντι. Υπάρχει όμως η διάχυτη ακτινοβολία.
nick_61 Δημοσιεύτηκε November 1, 2016 at 04:36 μμ Δημοσιεύτηκε November 1, 2016 at 04:36 μμ θελω να υπολογισω τις πλευρικες σκιασεις μιας αδιαφανους επιφάνειας. απο δεξια εχω πληρη σκιαση (συντ/στες 0) και απο αριστερά είναι ασκιαστο (συντ/στες 1). Ποια τελική τιμή επιλέγω? Σύμφωνα με τη τοτεε καταλαβαινω οτι το γινόμενο το παίρνω μόνο όταν έχω σκιάσεις και απο τις δυο μεριές Δεν μπορώ να καταλάβω πως εννοείς ότι έχεις πλήρη σκίαση από δεξιά. Πλήρης σκίαση εννοείται όταν η όψη σου είναι κλεισμένη από παντού. Σε καμία άλλη περίπτωση δεν έχεις πλήρη σκίαση, λόγω και της διάχυτης ακτινοβολίας.
panos-vicious Δημοσιεύτηκε November 2, 2016 at 03:54 πμ Δημοσιεύτηκε November 2, 2016 at 03:54 πμ (edited) Μπορεί και να 'ναι στον "πάτο του πηγαδιού" nick_61. π.χ., στα κατώτερα επίπεδα πολυόροφου κτηρίου, με όψη που "βλέπει" προς φωταγωγό -ξεχνώντας την -δυνητικά- αφαιρούμενη μπίχλα του στεγάστρου. Τι ηλιασμό να έχει εκεί από διάχυτη, από τη μια πλευρά τουλάχιστον; Με τη δική μου οπτική, θα θεωρούσα κι εγώ πλήρη σκιασμό από εκείνη την πλευρά. Δεν λέω, ο ήλιος κάνει την εκάστοτε τροχιά του, οι ΤΟΤΕΕ που σχετίζονται με τον ελληνικό Κ.ΕΝ.Α.Κ. προσπαθούν να βγάλουν κάποιες μέσες τιμές σκιασμού, (αγνώστου σ' εμέ, σκεπτικού της επιλογής τους), κι εμείς, ως καλούμενοι να εφαρμόσουμε, κατ' αρχήν τον κανονισμό και κατά δεύτερον και μοιραία, τις οδηγίες που τον ακολουθούν, μη θέτοντας όμως την κοινή λογική (που ως "κοινή" μπορεί και να ερμηνευθεί ποικιλοτρόπως) στην κατάψυξη (έτσι συνηθίσω να την λέω όταν έχω να κάνω με νόμους και κανόνες), προσπαθούμε να βρούμε μια "χρυσή τομή". Καταλαβαίνω ότι πιθανόν, να μην ικανοποιεί αυτή η απάντηση, καθώς πάμπολλες φορές έχω μιλήσει εδώ μέσα, για εφαρμογή του -συγκεκριμένου τουλάχιστον- κανονισμού, και αποφυγή αυθαιρέτων θεωρήσεων/παραδοχών, αλλά απ΄ την άλλη με τρώει σαν σκεπτόμενο άνθρωπό η τυφλή εφαρμογή του γράμματος του νόμου. Θα έγραφα λοιπόν κάπου, μιας και δίνεται η δυνατότητα για ανέβασμα επιπλέον αρχείων σε σχέση με παλιότερα, μια επεξήγηση της παραπάνω θεώρησης. Τώρα, αν όλα αυτά τα επιπλέον αυτά που ανεβάζουμε, τα βλεφαρίζει (έστω) κανείς ... Edited November 2, 2016 at 04:03 πμ by panos-vicious
nick_61 Δημοσιεύτηκε November 2, 2016 at 06:59 πμ Δημοσιεύτηκε November 2, 2016 at 06:59 πμ Συμφωνώ μαζί σου panos σε ότι αφορά φωταγωγούς κλπ. Έτσι το αντιμετωπίζω και εγώ. Απλά στην περίπτωση του anpap αφού από αριστερά δεν υπάρχει σκίαση δε είναι δυνατόν να θεωρήσεις μηδενικό συντελεστή, λόγω της διάχυτης από εκείνη την πλευρά.
Recommended Posts
Δημιουργήστε ένα λογαριασμό ή συνδεθείτε προκειμένου να αφήσετε κάποιο σχόλιο
Πρέπει να είστε μέλος για να μπορέσετε να αφήσετε κάποιο σχόλιο
Δημιουργία λογαριασμού
Κάντε μια δωρεάν εγγραφή στην κοινότητά μας. Είναι εύκολο!
Εγγραφή νέου λογαριασμούΣύνδεση
Εάν έχετε ήδη λογαριασμό; Συνδεθείτε εδώ.
Συνδεθείτε τώρα